Kia Sportage: Electric Waste Gate Actuator (EWGA): Repair procedures - Engine Control System - Engine Control / Fuel System - Kia Sportage SL Service & Repair ManualKia Sportage: Electric Waste Gate Actuator (EWGA): Repair procedures

Third generation SL (2010–2016) / Kia Sportage SL Service & Repair Manual / Engine Control / Fuel System / Engine Control System / Electric Waste Gate Actuator (EWGA): Repair procedures

Inspection
[Motor]
1.
Turn ignition switch OFF.
2.
Disconnect the EWGA connector.
3.
Check that the EWGA is stuck by foreign material.
4.
Measure resistance between motor (+) and (-) control terminals of the motor.
5.
Check that the resistance is within the specification.

Specification: Refer to “Specification” section.

[Position Sensor]
1.
Turn ignition switch ON.
2.
Connect the GDS to the data link connector(DLC).
3.
Check the output voltage at each position of the EWGA position sensor on current data item within the specification.

Specification: Refer to “Specification” section.

Removal
1.
Turn the ignition switch OFF and disconnect the battery negative (-) cable.
2.
Disconnect the EWGA connector (A).

3.
Remove the shaft link assembly (B) after removing the C-ring (A).

4.
Remove the EWGA after removing the bolts (A).

   
When carrying the turbo charger, do not hold the rod of the turbo charge to prevent bending the rod.
Installation
1.
Installation is the reverse order of removal.
Adjustment
1.
Check that the waste gate turbo charger is cool enough to work.
2.
Turn the ignition switch to OFF position.
3.
Connect the diagnostic tool to DLC connector (16 pin) under the driver side instrument panel.
4.
Turn the ignition switch ON position.
   
Do not start the engine.
5.
Select VIN or Vehicle on the initial screen.
6.
Enter "Engine Control" menu after slelecting vehicle information (Vehicle model, Model year, Engine type) or entering the VIN number.
7.
Access to GDS Engine > Current Data
8.
Without starting the engine, cycle the ignition ON for 5seconds then ignition OFF for 5seconds then check the "Adaption value for the low mechanical stop of EWGA" on the GDS.
Repeat this step until the amount of the adaption value change compared to previous cycle is below 0.05V.
   
Do not start the engine. This is a crucial step to read the correct adaption value.

9.
If the voltage value measured is not within the specified voltage value, adjust the EWGA rod length. But, if no, no further procedure is required.
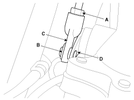
(1)
Loosen the rod end lock nut (A) and remove the C-ring (B).
(2)
Adjust the rod end part (C) by rotating it clockwise (D) or counterclockwise (E) to satisfy the specification.
If output voltage > 4.3 V
: Turn it clockwise (D)
If output voltage < 4.1 V
: Turn it counterclockwise (E)
Turning angle
Changing level of the adaption value (V)
0.5 turn (180°)
 0.15 ~ 0.20
1 turn (360°)
 0.30 ~ 0.40

10.
Install the rod end part (C) to the turbo charger lever (D) temporarily. Don''t tighten the rod end lock nut (A).
11.
Turn the ignition switch ON/OFF 5 times. But hold 5 seconds at each IG ON or OFF state.
   
Turn the ignition switch ON/OFF repeatedly until the changing value of " Adaption value for the lower mechancal stop of EWGA" is within 0.05V.

When turning the ignition switch ON or OFF once, maximum changing level of the adaption value : Max. ± 0.05V

12.
If the voltage value measured is not within the specified voltage value, repeat 8~10 procedures untill the voltage value is within the specified voltage value.

Specified voltage value : 4.1 ~ 4.3 V

13.
Check that " Adaption value for the lower mechancal stop of EWGA" is within the specified voltage value.
14.
If it is within the specified voltage value, install the turbo charger lever (D) and the rod end part (C).
   
Be careful not to remove the washer (E).
15.
Tighten the rod end locking nut (A). The turbo charger lever (D) side and the rod end part (C) side should be parallel at this time.
16.
Install the C-ring (B).

Electric Waste Gate Actuator (EWGA): Schematic Diagrams
Circuit Diagram ...

RCV Control Solenoid Valve: Description and Operation
Description RCV (Recirculation Valve) Control Solenoid Valve is installed on the intercooler inlet pipe and operates the RCV actuator which controls the by-pass passage of the turbocharger comp ...

Other Information:

Turn signals and lane change signals
The ignition switch must be on for the turn signals to function. To turn on the turn signals, move the lever up or down (A). The green arrow indicators on the instrument panel indicate which tur ...

Finish damage repair
Deep scratches or stone chips in the painted surface must be repaired promptly. Exposed metal will quickly rust and may develop into a major repair expense. If your vehicle is damaged and requires ...

Categories

Copyright www.kispmanual.com 2014-2026